Những công ty đang xây dựng tương lai của ngành công nghiệp giao hàng bằng drone
Giao hàng bằng drone đang là xu hướng nóng hổi hiện nay. Tại Hoa Kỳ, các công ty như Walmart và Amazon đang dẫn đầu. Ngoài triển khai ngành công nghiệp, có nhiều đổi mới trong công nghệ và giải pháp phần cứng, tăng cường và cải thiện trải nghiệm giao hàng.
Hãy cùng nhau khám phá.
Các trạm đỗ drone của Dronedek
Tôi đã đặt ra thách thức về những bước cuối cùng để đưa gói hàng đến tay khách hàng, đặc biệt là khi họ không có sân sau thuận tiện cho việc giao hàng.
Công ty tại Hoa Kỳ Dronedek có thể sẽ có giải pháp.
Meet the Dronedek delivery platform that can also charge drone batteriesCông ty này đã có bằng sáng chế cho một trạm đỗ drone kết nối, kiểm soát khí hậu, chạy bằng năng lượng mặt trời. Nó giúp hộp thư nhận cả gói hàng và đồ ăn.
Drone hạ cánh lên hộp và đặt gói hàng vào hộp, sau đó khách hàng mở bằng ứng dụng.
Drone cũng có thể sử dụng bến để sạc pin. Hộp thư đang được thử nghiệm tại Lawrence, Indianapolis.
Mang, thả và giao hàng
Tôi cũng quan tâm đến Dịch vụ Giao hàng Drone A2Z và chiếc drone vận chuyển tích hợp mới, RDST, giúp vận chuyển gần như mọi hình dạng hoặc kích thước gói hàng, có trọng lượng lên đến 10 kg (22 lb).
The RDS2 winch systemNó đi kèm với hệ thống dây đeo sáng tạo, giúp vận chuyển hàng hóa mà không cần hạ cánh hoặc đi xuống dưới đường chân cây, duy trì tuân thủ với Yêu cầu Part 107.
Hơn nữa, theo Zhang, hệ thống giao hàng bằng dây đeo "cũng có nghĩa là gói hàng có thể được giao mà không cần người nhận, tạo ra tính linh hoạt hơn cho người gửi và ngăn chặn người ta tiếp xúc với drone."
Khách hàng được bảo vệ khỏi cánh quạt quay, đồng thời loại bỏ những lo ngại về quyền riêng tư và tiếng ồn của drone bay thấp.
Drone cất cánh từ xe giao hàng và nói chuyện với robot
Vào cuối tháng 7, hãng sản xuất ô tô Ford đã công bố một bằng sáng chế cho phần cứng giúp xe giao hàng khởi động và điều khiển drone trực tiếp.
Hiện tại, drone chủ yếu hoạt động từ các trạm cố định được điều hành bởi nhân viên, đòi hỏi mỗi drone phải quay lại trung tâm để lấy gói hàng tiếp theo.
Theo bằng sáng chế của Ford, thay vì một chiếc xe van lái đến mỗi ngôi nhà, drone có thể khởi động từ một trạm đỗ được đặt trên đỉnh của xe giao hàng và vận chuyển hàng hóa đến khách hàng.
Ford’s last-mile delivery patentDrone cũng có thể giao tiếp với nhau để xác định drone gần nhất đến địa chỉ của mỗi khách hàng và gửi chúng đi để giao hàng.
Ford không phải là công ty đầu tiên hoạt động trong lĩnh vực này. Amazon đã công bố một bằng sáng chế tương tự vào năm ngoái cho robot giao hàng.
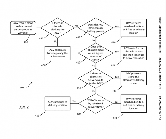
Và Walmart gần đây nộp đơn đăng ký bằng sáng chế cho một kế hoạch táo bạo trong đó robot và drone hợp tác để giao hàng.
A diagram from the Walmart drone patentRobot giao hàng có thể bị chặn bởi một chướng ngại vật hoặc cổng khóa tại nhà khách hàng. Như phản ứng, nó liên lạc với một drone, hướng dẫn nó lấy vật phẩm bằng cơ cấu "gripper" và sau đó hoàn tất giao hàng bằng cách bay đến khách hàng.
Robot giao hàng cũng sẽ đi kèm với một bộ sạc có khả năng cung cấp năng lượng cho drone.
Hiện nay, ngành công nghiệp giao hàng bằng drone đang phát triển với tốc độ nhanh chóng. Với sự tiến bộ liên tục trong công nghệ cùng với sự mở rộng dần dần của các quy định, bầu trời trong tương lai sẽ trông khác biệt rất nhiều so với những gì chúng ta trải nghiệm ngày nay.
